一、塔的平台
塔平台为从人孔、手孔处检修设备;紧固法兰;操作和维修调节阀组及检修、安装液面调节阀、大口径阀门、检测仪表、安全阀等附件而设。
当下列附件需要布置在距地面3600mm以上,或距平台面1800mm以上时,应考虑设置平台(从地面至3600mm以下的高度时,可使用移动平台):控制阀组;重沸器;人孔;安全阀;DN100以上的阀,电动阀;取样装置;DN200及以上的盲法兰或“8”字盲板;有必要增加法兰的地方;液位计。
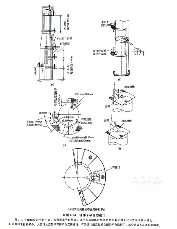
现有的平台宽度一般为1000~1500mm。人孔用平台最小宽度为1000mm。
塔顶平台是为操作吊柱、放空阀和维修安全阀设置的,可制成方形,大小按需要确定。此外,还应考虑如下事项。
①. 人孔中心线以距平台600~1000mm为宜,最适宜高度为750mm(SH 3011规定平台距人孔底部不宜大于800mm)。
②. 有两个以上塔设备并列的情况下,建议统一平台标高,做联合平台。平台应设防护栏杆和踢脚板,栏杆高度以1.2m为宜;平台的进出口处应有自动复位栏杆;影响检修的栏杆段,应为可拆卸的。
③. 联合平台应考虑各塔、架之间的热胀及其移动因素,留有缝隙,加入适当的销子。塔身用法兰连接时,应在法兰下侧设置平台,平台面与法兰的距离不宜大于1.5m。
④. 通常,平台的均布荷载为250~50~400kgf/㎡(2.5~4kPa)为宜,因维修或管架原因需要平台承担更大负荷时,须给设备工程师提出条件。
图6-83~图6-85所示为平台设置的照片。


二、吊柱
通常,塔的高度超过15m以上,及需满足以下要求时需要设置吊柱:有填料时;有内件及附件装卸的情况。
吊柱布置应注意的事项如下。
①. 吊柱下方地面应留有充分的作业空间。
②. 应能达到塔上所有检修和操作平台的位置。
③. 在吊柱回转覆盖范围内,应有一处能够避开所有平台和管道的竖直通道。
④. 吊柱应布置在检修侧范围内。
吊柱布置如图6-86所示。

三、梯子
塔器上的梯子几乎都是直梯,是上下各层平台以及安全逃生的通道,也可作为观察、操作和维修某些附件的设施。
需要经常上去进行操作和维修工作的平台应设置梯子;下列附件也可靠近直梯布置:3”及以下的阀;各种液位计视镜;手孔;压力计等仪表。
梯子布置应注意的事项如下:
①. 梯子的布置间距必须满足GB50160《石油化工企业设计防火规范》的规定。
②. 直梯宽度以0.4~0.6m为宜,高度超过2m时应加设安全护笼。
③. 塔平台直梯应自下而上分段错开布置。
④. 高度在15m及以下时,每段高5~8m为宜,超过15m时,每段应不高于5m,否则应设中间休息平台(按SH3011的规定)。
四、管口方位
塔的管道与其他设备管道相比,其特点是根据工艺要求安排好管口和塔盘等内部结构的关系,这种关系的好坏对管道布置的简化、操作的方便、检修的难易、是否经济等有很大的影响。因此,需要对塔的内部结构、塔的操作进行充分了解。
1. 人孔 从检修和操作上考虑,人孔方位应布置在检修侧,且宜设在同一垂线上,但不能朝向加热炉和其他危险气体发生区域;若有两台塔并列时,人孔应朝向一致(同一方向)。对有塔盘等内部结构的塔,人孔开设的方位必须注意同内部构件的关系,应开设在降液管以外的区域。
①. 塔顶人孔。注意到降液盘区即可,但降液管在300mm以下时,可圆周(360°)布置(图 6-87)
②. 中间人孔。
③. 塔底人孔。


2. 仪表管口 仪表最好不要放在人孔旁(有破损的危险)。
①. 液位计和液位调节器的开口应布置在便于监视、检查及能从抽出泵和调节阀的旁通处看得见的位置,且液面应不受流入液体冲击的影响。
②. 液位调节变送器,应设在平台或梯子上操作方便的地方,站在梯子平台上操作的液位调节器和液位计宜安装在梯子的右侧。
③. 液位调节器最适宜的位置,是在检查液位调节器时,可以看到液位计的地方;并应考虑由于液相进料影响的液位波动。当设置的挡板不能避免液位波动时,应与设备专业协商解决液位计的方位,取决于受液槽与重沸器返回口间的关系(图6-92、图6-93)。
④. 两个低温液位计不要靠在一起,防止“冷桥”产生和结霜(图6-94)。
⑤. 压力表开口和压差计上部开口应布置在气相区。框架内的塔,如果压力表、温度计管口与结构梁过于接近,应考虑安装的可能性,必要时与设备工程师商量以进行修改。

3. 回流管、进料管和抽出管等布置(图6-95~图6-97)塔顶气相(馏出线)开口布置在塔顶头盖中部,安全阀开口、放空管开口一般布置在塔顶气相开口的附近,也可将放空管开口布置在塔顶气相管道最高水平段的顶部。
塔顶回流或中段回流的开口,一般布置在塔板的管道侧,回流管的内部结构和开口方位与塔溢流方式有关。
气相进料开口一般布置在塔板上方,与降液管平行,当气流速度较高时,应设分配管;气液相混合进料开口一般布置在塔板上方,并设分配管,当流速较高时应切线进入,并设螺旋导板。
塔板的抽出口:单溢流塔板,从流体的均衡性考虑,开口应与受液槽垂直布置;双溢流塔板,无论是一个开口或是两个开口,开口都宜布置在与降液管平行的塔中心线上。


