①. 集液包应设置在下列场合。
a. 蒸汽主管的末端。
b. 蒸汽管线的立式II形补偿弯管或立管最低处。
c. 蒸汽水平管的低点处。
d. 装置边界蒸汽管线切断阀之前。
②. 水平敷设的长蒸汽管应设集液包,其间隔如下。
a. 在装置内,饱和蒸汽宜为80m,过热蒸汽宜为160m。
b. 在装置外,顺坡时宜为300m,逆坡时宜为200m。
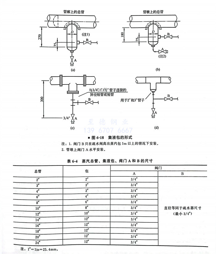
③. 管廊上蒸汽总管末端的集液包配管应考虑以下要求。
a. 集液包及接管与梁之间的净距应大于热位移量及保温所需的空间,且不小于200mm(图6-17)。
b. 集液包的冷凝水出口管的方位不宜向管廊梁的一侧引出,同时避免与管廊下层管道相碰。疏水阀应布置在不影响通行的地方。
c. 集液包的冷凝水出口管的走向,除考虑管道柔性要求外,还要考虑便于设置管道支架及疏水阀组的支架。
d. 在蒸汽主管的位移较大时,靠近主管的小管支架应尽量利用主管生根,以减小相对位移。
e. 蒸汽管径小于DN80时,根据项目要求可不必采用集液包,仅设低点排放至疏水阀即可。

④. 集液包的结构如下。
a. 集液包的冷凝水出口管线应设切断阀或蒸汽疏水阀组。
b. 集液包通常采用标准管件组合而成,应符合管道等级规定。集液包下端宜用法兰盖,兼作吹扫用。也可以用焊接管帽,但需增加排液口。
c. 根据蒸汽主管的管径范围组合形式,集液包有如图6-18所示的几种形式。蒸汽总管、集液包、阀门A和B的尺寸见表6-4。


