①. 此处的高点排气及低点排液是指在PID图上可以不表示的。高点排气用于水压试验及液体管道的排气,低点排液用于水压试验及停车排净等。PID图上所表示的排气和排液应按流程要求,并遵循有关规定进行设计。
②. 不锈钢管道的高点与低点均应分别备有排气口与排液口,并位于容易接近的地方。如该处(相同高度)有其他接口可利用时,可不另设排气口或排液口。除管廊上的管道外,对于公称直径小于或等于25mm的管道可省去排气口。对于蒸汽伴热管迂回时出现的低点处,可不设排液口。
③. 高点排气管的公称直径最小应为15mm;低点排液管的公称直径最小应为20mm。当主管公称直径为15mm时,可采用等径的排液口。SH3012规定了放气口、排液口的最小公称直径,对于小于或等于DN25的为15mm,对于DN40~150的为20mm,对于DN200~350的为25mm,对于大于或等于DN400的为40mm。高黏度介质管道排液口大于或等于DN25。
④. 气体管道的高点排气口可不设阀门,接管口应采用法兰盖或管帽等加以封闭。
⑤. 所有排液口最低点与地面或平台的距离不宜小于150mm。
⑥. 饱和蒸汽管道的低点应设集液包及蒸汽疏水阀组。
⑦. 对于全厂性的工艺、凝结水和水管道,在历年最冷月月平均温度的平均值高于0℃的地区,应少设低点排液,低于或等于0℃的地区,应在适当位置设低点排液。
⑧. 氢气管道上不宜设置高点排气和低点排液。
⑨. 蒸汽主管(干管)的排液设施应包括扑集管、切断阀和疏水阀(具体可见本书“蒸汽管道集液包”所述)。
⑩. 公用工程管道的末端应设置低点排液口,以利排液和吹扫。
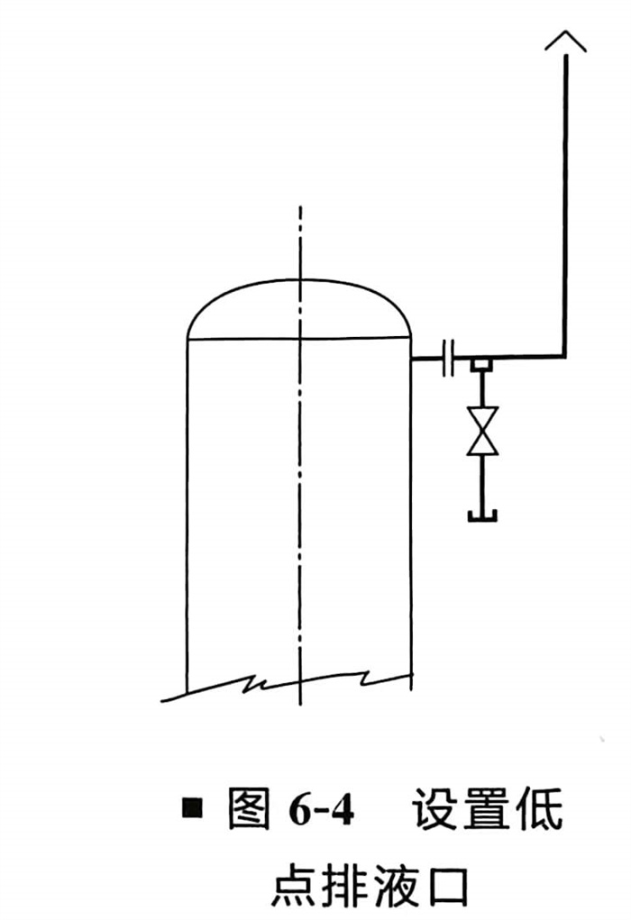
⑪. 凡向大气排放的排气管道,应设置低点排液口,如图6-4所示。

⑫. 输送催化剂或高黏度的物料(如焦油、沥青、重质燃料油等)管道排气、排液口的直径应不小于DN25。
⑬. 浆液管道不宜设置排气和排液口,如需要设置排液口时其型式和尺寸见图6-5和表6-3所示。

⑭. 输送固体或浆料管道的排气、排液管的切断阀宜选用球阀或旋塞阀。
⑮. 管道上排气、排液口设置的阀门应靠近主管。
⑯. 振动管道上直径小于DN40密闭放空、放净管根部接口处应采取加强措施。
⑰. 输送液态丁烷和更轻的液化烃类管道上的排气、排液管的切断阀应设双阀。
⑱. 放气或排液管上的切断阀,宜用闸阀,阀后可接带管帽短管;对于高压、极度及高度危害介质的管道应设双阀。当设置单阀时,应加盲板或法兰盖;连续操作的可燃气体管道低点的排液阀,应为双阀。排出的液体应排放至密闭系统:仅在开停工时使用的排液阀,可设一道阀门并加螺纹堵头、管帽、盲板或法兰盖。可燃液体管道以及大于2.5MP。蒸汽管道上排液管装一个切断阀时,应在端头加管帽(管堵)盲板或法兰盖。
⑲. 容器设备上的排气管除作为进出料呼吸用外,应设置切断阀,阀门宜直接与设备管口相接。当只安装一个切断阀时其端部应设置丝堵、管帽或盲法兰密封。
⑳. 允许向大气排放的介质排气管端部的高度应符合本书“管道布置设计的一般要求”中“32大气排放的相关规定”。
21. 为保证阀门检修、丝堵、管帽及法兰拆卸、软管连接,管道上低点排液管管端距地面或楼板面的净距不得小于100mm。
22. 接地漏或开口罐的放净管管口应高出地漏或罐口大于或等于50mm。
23. 管道布置呈U形II形时,其水平或垂直管道上的排气、排液口安装位置尽量设置在物料流向的下游端部。
24. 对易自聚、易冻结、易凝固、含固体介质的管道上的排液管不应配成如图6-6(a)所示的弯管形式。一般应采用图6-6(b)的形式。图6-6(c)右侧的排净阀门放置不合理,阀门上侧易积液。

25. 排气、排液管端部连接形式。
a. 当采用管螺纹管件连接时,排气、排液阀出口处加丝堵密封。
b. 当采用承插焊接型管件连接时,排气、排液阀出口处加螺纹管帽密封。如排气、排液阀为法兰连接时,可采用盲法兰密封,亦可采用螺纹法兰加丝堵。
c. 当采用定型管件连接时,管端部加盲板法兰,需要时可采用螺纹法兰加丝堵。
26. 排气和排液型式分为两类,一类为带阀门型,另一类为不带阀门型。不带阀门的排气和排液不宜采用。
各种类型的排气、排液配管的选用应根据工程管道等级规定选用。
其中螺纹连接主要用于低压公用工程管道上的排气和排液。承插焊连接主要用于碳钢或低合金钢的工艺管道或压力较高的公用工程管道上。法兰连接主要用于不锈钢等合金钢工艺管道上。设备上的排气类型较多。图6-7所示为常用排气、排液管安装图(含工艺要求排气和排净)。


