1. 空分站工艺流程简介
空分装置(Air Separation Unit,ASU)是用来分离空气中的各组分气体,为全厂工艺装置及各辅助装置提供所需要的氧气、氮气、氩气等气体和液体产品的装置。氧气和氮气是炼化装置中不可缺少的原料气和保护气。
在空分领域中,深冷法、变压吸附法、膜分离法是应用于工业生产的三大分离方法。深冷法是传统的制氧(氮)方法,在国内外的制氧(氮)行业中仍占据着统治地位,适用于氧(氮)气需求量大、纯度高,且要求连续供气,并将液氧(氮)作为储备气源的生产场合,变压吸附法(PSA)和膜分离法是新兴的制氧(氮)方法,其技术日臻成熟,适用于氧(氮)气需求量小、纯度低、开停迅速、操作弹性大、无需液体产品的生产场合。
目前,国内外大型空分装置流程多数采用深冷法。根据产品压缩情况,深冷法可分为外压缩流程和内压缩流程。其中,内压缩流程较为广泛地应用在冶金、石油化工等行业。根据循环增压机压缩介质的不同,内压缩流程通常可分为空气循环流程和氮气循环流程。
空分设备系统,如图5-150所示。

目前空分设备流程主要分为外压缩流程和内压缩流程。外压缩流程就是空分设备生产低压氧气,然后经氧压机加压至所需压力供给用户。内压缩流程是相对于外压缩而言的。就是取消氧压机,直接从空分设备生产出中高压的氧气供给用户。内压缩流程与外压缩流程的主要区别在于产品氧的供氧压力是液氧在冷箱内经液氧泵加压达到的,如图5-151所示。

2. 空压站工艺流程简介
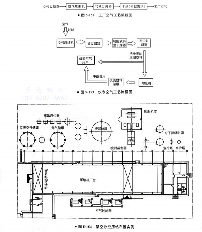
在炼油和石油化工企业的生产中,作为常用吹扫介质的工厂空气及仪表动力来源的仪表空气是必不可少的。因此,在炼油和石油化工企业的工厂设计中,经常能遇到作为重要辅助设施的空压站的设计。
工厂空气工艺流程图,如图5-152所示。仪表空气工艺流程图,如图5-153所示。

3. 某空分空压站布置实例(图5-154)

